最全面的智能化弱电工程运维服务方案
1服务内容
1.1服务目标
某XX科技有限责任公司可为XX一期工程及招商中心弱电系统(包括机房、门禁、监控、停车场系统、园区网络等等)提供系统设备的定期维护、保养、检修及紧急故障处理工作,确保整个弱电系统的稳定运行。
某XX科技有限责任公司通过运行维护服务的有效管理来提升用户弱电系统的服务效率,协调各业务应用系统的内部运作,改善系统运行状况,提高服务质量。结合用户现有的环境、组织结构、弱电资源和管理流程的特点,从流程、人员和技术三方面来规划用户的弱电系统。
某XX科技有限责任公司提供的系统服务的目标是,对用户现有的弱电系统基础资源进行监控和管理,及时掌握系统资源现状和配置信息,反映系统资源的可用性情况和健康状况,创建一个可知可控的智能化运行环境,从而保证用户弱电系统的各类业务应用系统的可靠、高效、持续、安全运行。
服务项目范围覆盖的信息系统资源以下方面的关键状态及参数指标:
Ø运行状态、故障情况
Ø配置信息
Ø可用性情况及健康状况性能指标

1.2信息资产统计服务
此项服务为基本服务,包含在运行维护服务中,帮助我们对用户现有的信息资产情况进行了解,更好的提供系统的运行维护服务。
服务内容包括:
Ø硬件设备型号、数量、版本等信息统计记录
Ø软件产品型号、版本和补丁等信息统计记录
Ø网络结构、网络路由、网络IP地址统计记录
Ø综合布线系统结构图的绘制
Ø其它附属设备的统计记录
1.3网络系统运维服务
从网络的连通性、网络的性能、网络的监控管理三个方面实现对网络系统的运维管理。网络、安全系统基本服务内容:
序号 | 服务模块 | 内容描述 | 提供方 |
1 | 现场备件安装 | 配合用户进行,按备件到达现场时间工程师到达现场 | 某科技有限责任公司 |
2 | 现场软件升级 | 首先分析软件升级的必要性和风险,配合用户进行软件升级 | 某科技有限责任公司 |
3 | 现场故障诊断 | 按服务级别:7×24小时 5×8小时 | 某科技有限责任公司 |
4 | 电话远程技术支持 | 7×24小时 | 某科技有限责任公司 |
5 | 问题管理系统 | 对遇到的问题进行汇总和发布 | 某科技有限责任公司 |
网络核心交换机巡视典型作业计划书 | ||||||
系统管理单位: | 维保单位:某科技有限责任公司 | |||||
设备名: | 设备型号: | 管理IP: | ||||
检查内容 | 参考标准 | 检查结果 | 检查结论 | 巡视方法描述 | 巡检周期 | |
硬件运行状态 | 电源运行状态 | □正常 □异常 | ||||
风扇运行状态 | □正常 □异常 | |||||
模块运行状态 | □正常 □异常 | |||||
系统运行状态检查 | VLAN 状态 | □正常 □异常 | ||||
配置 状态 | □正常 □异常 | |||||
OSPF 状态 | □正常 □异常 | |||||
日志检查 | 日志 状态 | □正常 □异常 | ||||
其他检查内容 | □正常 □异常 | |||||
□正常 □异常 | ||||||
□正常 □异常 | ||||||
某XX科技有限责任公司可根据用户的需求提供长期的用户现场技术人员值守服务,保证网络的实时连通和可用,保障接入交换机、汇聚交换机和核心交换机的正常运转。现场值守的技术人员每天记录网络交换机的端口是否可以正常使用,网络的转发和路由是否正常进行,交换机的性能检测,进行整体网络性能评估,针对网络的利用率进行优化并提出网络扩容和优化的建议。
编号 | 巡检内容 | |||
1 | 硬件运行状态检查项目 | |||
单板状态检查 | 电源模块状态检查 | 风扇状态检查 | ||
整机指示灯状态检查 | 机框防尘网检查 | 机房温度、湿度检查 | ||
设备地线检查 | ||||
2 | 软件运行情况检查项目 | |||
设备运行情况检查 | 网络报文分析 | 设备对接运行状况检查 | ||
路由运行情况检查 | ||||
3 | 网络整体运行情况调查 | |||
网络运行问题调查 | 网络变更情况调查 | 网络历史故障调查 | ||
(3)网络运行分析与管理服务
网络运行分析与管理服务是指某XX科技有限责任公司工程师通过对网络运行状况、网络问题进行周期性检查、分析后,为客户提出指导性建议的一种综合性高级服务,其内容包括:
服务内容 | 服务优点 |
向客户提供网络专家电话号码。 | 保证重大问题第一连线至网络专家。 |
网络专家组每周与客户进行不少于2小时的电话技术交流 | 以最小成本保证及时解答客户关心的技术问题,并就某一领域技术问题展开深层次沟通。 |
每月向客户提交CASE汇总分析报告,并可扩展到每年17次(月度、季度、年度) | 使客户了解网络历史故障情况以及故障预防建议,最大程度减少网络故障隐患,更高效的进行网络管理。 |
(4)重要时刻专人值守服务
某XX科技有限责任公司深刻知道保证重要时刻设备稳定运行对客户成功尤为关键,因此,某XX科技有限责任公司可对客户提供重要时刻的专人现场值守支持。
如需专人值守,客户需至少提前1周与授权服务商客户服务经理联系。对每位合约客户,授权服务商均需按事先合同约定提供专人值守服务。客户如需超出合同约定范围的更多值守支持,需额外支付相应人力和差旅费用。
1.4主机、存储系统运维服务
某XX科技有限责任公司提供的主机、存储系统的运维服务包括:主机、存储设备的日常监控,设备的运行状态监控,故障处理,操作系统维护,补丁升级等内容。
主机存储系统基本服务内容:
序号 | 服务模块 | 内容描述 | 提供方 |
1 | 现场备件安装 | 配合用户进行。按备件到达现场时间工程师到达现场 | 设备厂商、 某XX科技有限责任公司 |
2 | 补丁服务 | 消除软件漏洞给系统带来的安全隐患,并对安装补丁所引起的系统连锁反应进行合理的平衡。 | 某XX科技有限责任公司 |
3 | 升级服务 | 对系统进行软件或硬件的升级,以改进、完善现有系统或消除现有系统的漏洞。 | 某XX科技有限责任公司 |
4 | 现场故障诊断 | 按服务级别:7×24小时 5×8小时 | 某XX科技有限责任公司 |
5 | 电话远程技术支持 | 7×24小时 | 某XX科技有限责任公司 |
6 | 问题管理系统 | 对遇到的问题进行汇总和发布 | 某XX科技有限责任公司 |
7 | 系统优化 | 对客户系统的括主机、存储设备、操作系统、提供优化服务。 | 某XX科技有限责任公司 |
某XX科技有限责任公司现场值守人员可进行监控管理的内容包括:
ØCPU 性能管理;
Ø内存使用情况管理;
Ø硬盘利用情况管理;
Ø系统进程管理;
Ø主机性能管理;
Ø实时监控主机电源、风扇的使用情况及主机机箱内部温度;
Ø监控主机硬盘运行状态;
Ø监控主机网卡、阵列卡等硬件状态;
Ø监控主机HA运行状况;
Ø主机系统文件系统管理;
Ø监控存储交换机设备状态、端口状态、传输速度;
Ø监控备份服务进程、备份情况(起止时间、是否成功、出错告警);
Ø监控记录磁盘阵列、磁带库等存储硬件故障提示和告警,并及时解决故障问题;
Ø对存储的性能(如高速缓存、光纤通道等)进行监控。
1.5安防监控系统运维服务
(1)安防监控系统维护保养制度
1、为了做好监控设备的维护工作,保安负责日常对监控系统的监测、维护、管理, 承担起设备的维护服务工作, 以保障监控系统的长期、可靠、有效地运行。
2、在对监控系统设备进行维护过程中,应对一些情况加以防范,尽可能使设备的运行正常,对于监控系统的各种采集设备来说,由于设备直接置于有灰尘的环境中,对设备的运行会产生直接的影响,需要重点做好防潮、防尘、防腐的维护工作。
3、每季度一次设备的除尘、清理,扫净监控设备显露的尘土,对摄像机、防护罩等部件要卸下彻底吹风除尘,之后用无水酒精棉将各个镜头擦干净,调整清晰度,防止由于机器运转、静电等因素将尘土吸入监控设备机体内,确保机器正常运行。同时检查监控机房通风、散热、净尘、供电等设施。室外温度应在-20 ℃~+60℃,相对湿度应在10%~100%;室内温度应控制在+5℃~+35℃,相对湿度应控制在10%~80%,留给机房监控设备一个良好的运行环境。
4、根据监控系统各部份设备的使用说明,每月检测其各项技术参数及监控系统传输线路质量,处理故障隐患,协助监控中心设定使用级别等各种数据,确保各部份设备各项功能良好,能够正常运行。
5、对容易老化的监控设备部件每月一次进行全面检查,一旦发现老化现象应及时更换、维修,如视频头等。
6、对易吸尘部份每季度定期清理一次,如监视器暴露在空气中,由于屏幕的静电作用,会有许多灰尘被吸附在监视器表面,影响画面的清晰度,要定期擦拭监视器,校对监视器的颜色及亮度。
7、对长时间工作的监控设备每月定期维护一次,如硬盘录像机长时间工作会产生较多的热量,一旦其电风扇有故障,会影响排热,以免硬盘录像机工作不正常。
8、对监控系统及设备的运行情况进行监控,分析运行情况,及时发现并排除故障。如:网络设备、服务器系统、监控终端及各种终端外设。桌面系统的运行检查,网络及桌面系统的病毒防御。
9、每月定期对监控系统和设备进行优化。
10、以上工作必须形成工作记录表格备双方签字确认方为完成以上工作。
11、提供每月一次的定期信息服务:每月第一个工作日,将上月抢修、维修、维护、保养记录表以电子文档的形式报送部门负责人审核。
(2)安防监控系统检修执行标准
①控制台
a、各控制器件运行正常,能实行切换定机,扫描式监视等;
b、操作键盘灵活、可靠;
c、电源锁开关完好。
②显示屏
a、各显示屏上监视器齐全、完好、显像清晰,符合设计要求;
b、各显示器接线清楚,无随意拉接线;
c、监视器安装牢固、可靠。
③电源设备
a、交流稳压电源工作正常、稳定;
b、各输出电路熔丝配置合理,没有不规范行为;
c、电源严格分离,交、直流电源分隔明显,无随意拉接线;
d、双路电源切换可靠、正常;
e、设备接地保护,防护等安全、可靠。
④摄像机
a、各摄像机工作正常、配置数量齐全;
b、带变焦距的摄像机应调节自如、符合性能要求;
c、各摄像机防护罩应齐全(特别是户外型);
d、各摄像机镜头的光圈调定正确,确保显像清晰,符合设计要求。
⑤录像机
a、所配录像机齐全,性能良好,符合性能要求;
b、各摄像监视点的信号,均能切换到录像机上进行录制(包括切换到备用录像机)。
(3)安保门禁系统
门禁读卡器与控制器;
a、闭门器开关灵活,快慢二档行程明确,自动关门时确保门锁上;
b、读卡器能正常刷卡;
c、电锁能正常开门;
d、电源正常;
e、设备接地保护符合规定。
(4)UPS应急电源
a、输出电压数据,符合设备规定数值;
b、电源容量适中,无过载,熔丝匹配正确;
c、备用电源正常,蓄电池容量充足,能维持规定时间,切换迅速可靠;
d、接地保护符合规定;
e、各接点,可靠、无氧化现象;
f、外表无尘。
(5)输入/输出控制器
a、各电接点连接可靠;
b、各电板无尘、无氧化现象;
c、输入/输出信号正确;
1.6弱电机房管理制度
1.机房应备有防静电手镯,维护人员插拔设备模块时要带防静电手镯。
2.维护终端使用的可移动存储介质要有严格的防病毒措施,严禁安装、使用未经批准的软件。
3.各种通信设备外壳,应良好接地。使用220伏及其以上交流电源工作时,必须注意人身安全和设备安全。
4.机房内严禁使用可能引起火灾的取暖设备。机房内要备灭火器,灭火器要放在固定位置,并指定专人管理,定期检查,保证良好。要求每一维护人员熟知其使用方法和火警电话号码。
5.室内所有设施要建立固定资产管理目录,并有专人负责。定期核对。
6.机房内严禁吸烟、饮食、睡觉、闲谈、娱乐。
7.除值班人员和维护人员外,其他部门和外单位人员,需经有关领导批准,方可进入机房。
8.值班人员对用户的电话讯问应做事后记录。
9.值班人员只能按规定的权限作好系统运行和管理工作,不得越权改动操作系统的硬软件。
10.系统出现异常情况时,值班人员需及时向有关技术人员和领导汇报,不可自行随意处理。
11.值班人员应会熟练使用灭火器材。出现火警时应立即报告保卫处和火警台。
2运维服务流程
2.1基本报修、维修、巡检工作制度及流程
对各个系统恢复严格管理,建立完整的值班制度和维修保养规则,值班人员应认真监测系统运行状况,随时记录异常情况,及时报修。
1、按国家有关规范和要求派专业人员对系统定期检查,测试,保养,维修,确保设备正常运行。
(1)对维保项目每周不低于1次进行检测。并填写巡查记录,发现故障及时排除或修复,并作为考核维保工作的依据。
(2)每月2次系统状态进行检查,每年24次。
(3)每季度不低于1次对维保项目进检测。如出现故障或问题,要及时排除修复。
2、须提供24小时维保热线,24*365天随时接受业主的服务请求;接到业主服务请求后,派专业工程师2小时内到达现场。
(1)维保技术人员对故障进行诊断后,按紧急程度不同划分,最迟在4小时提交解决方案。
(2) 维保技术人员到达现场后需持续工作直到设备正常运行,一般故障应当在4小时内修复;如需等待购买配件或因设备本身等原因不能及时修复的,要立即向业主报告,并采取相应的应急措施,在此期间,系统中断运行不得超过12小时。
(3)系统或设备修复后必须由甲方相关人员确认。
3、设备更换:维护保养过程中需购买、跟换设备或配件的,应事先向业主报告,由业主代表签字确认后,方可进行维修或更换。若乙方为了确保系统或设备正常运行,应急修复需立既更换设备或配件的,必须在事后及时向业主报告,更换后的损坏件应交由甲方查验。更换的设备(或器件)的型号参数不得低于原设备(或器件)型号参数,并记入设备维修(更换)记录单。
4、维保单位必须向业主提交详细的工作计划与工作安排,对每次检修、保养工作要认真做好记录,并交业主相关人员签字。
2.2服务方式
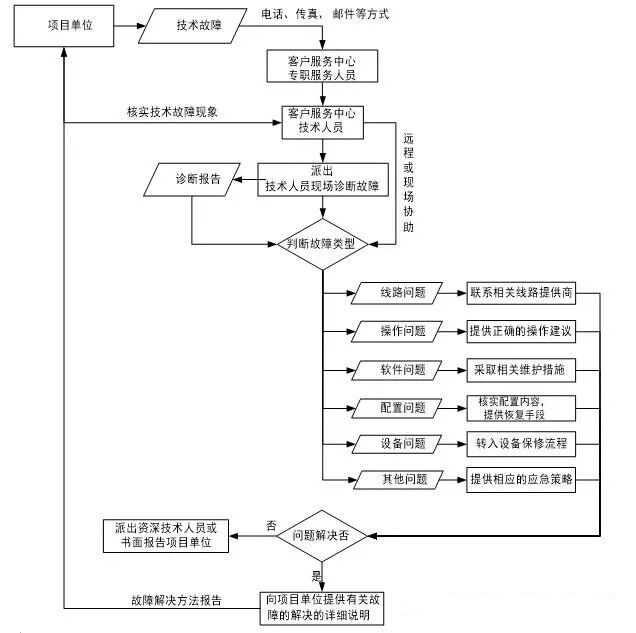
我公司建议用户采用的服务方式为两种:一种为技术人员现场值守,另一种是定期巡检结合故障现场服务。
技术人员现场值守运行维护服务的基本操作流程如下图所示:

定期巡检结合故障现场运行维护服务的基本操作流程如下图所示:

2.3系统设施维护检查表
工程名称:
检查日期 | 检查人员 | ||
检测设备名称 | 检查测试内容 | 检查情况 | 处理结果 |
现场人员意见: | |||
使用单位意见: | |||
维管单位意见: | |||
2.4各级各类人员的岗位职责
3服务管理制度规范
3.1服务时间
故障级别 | 响应时间 | 故障解决时间 |
I级:属于紧急问题;其具体现象为:系统崩溃导致业务停止、数据丢失。 | 30分钟,2小时内提交故障处理方案 | 4小时以内 |
II级:属于严重问题;其具体现象为:出现部分部件失效、系统性能下降但能正常运行,不影响正常业务运作。 | 30分钟,2小时内提交故障处理方案 | 12小时以内 |
III级:属于较严重问题;其具体现象为:出现系统报错或警告,但业务系统能继续运行且性能不受影响。 | 30分钟,2小时内提交故障处理方案 | 12小时以内 |
IV级:属于普通问题;其具体现象为:系统技术功能、安装或配置咨询,或其他显然不影响业务的预约服务。 | 30分钟,2小时内提交故障处理方案 | 4小时以内 |
3.2行为规范
(1)遵守用户的各项规章制度,严格按照用户相应的规章制度办事。
(2)与用户运行维护体系其他部门和环节协同工作,密切配合,共同开展技术支持工作。
(3)出现疑难技术、业务问题和重大紧急情况时,及时向负责人报告。
(4)现场技术支持时要精神饱满,穿着得体,谈吐文明,举止庄重。接听电话时要文明礼貌,语言清晰明了,语气和善。
(5)遵守保密原则。对被支持单位的网络、主机、系统软件、应用软件等的密码、核心参数、业务数据等负有保密责任,不得随意复制和传播。
3.3现场服务支持规范
(1)现场支持工程师应着装整洁、言行礼貌大方,技术专业,操作熟练、严谨、规范;现场支持时必须遵守用户单位的相关规章制度。
(2)现场支持工程师在进行现场支持工作时必须在保证数据和系统安全的前提下开展工作。
(3)现场支持时出现暂时无法解决的故障或其他新的故障时,应告知用户并及时上报负责人,寻找其他解决途径。
(4)故障解决后,现场支持工程师要详细记录问题的发生时间、地点、提出人和问题描述,并形成书面文档,必要时应向用户介绍故障出现的原因及预防方法和解决技巧。
3.4问题记录规范
根据使用人员提出问题的类别,将问题分为咨询类问题和系统缺陷类问题二类:咨询类问题是指通过服务热线或现场解疑等方式能够当场解决用户提出的问题,具有问题解答直接、快速和实时的特点,该问题到现场支持人员处即可中止,对于该类问题的记录可使用咨询类问题记录模版进行记录。系统缺陷类问题是指使用人员提出的问题涉及到系统相应环节的确认修改,需要经过逐级提交、诊断、确认、处理和回复等环节,处理解决需要各外包服务项目组的分析确认,问题有解决方案后,将解决方案反馈给用户。具体提交流程如下:
(1)问题提交。应用系统的用户发现属于系统缺陷类的问题时,填写系统缺陷类问题提交单,提交服务支持人员。
(2)问题分析。服务支持接到用户提交的问题单,要组织相应人员对问题单中描述的问题进行分析研判,确定问题的类型(技术问题、业务问题或者操作问题)。属于技术问题,提交服务技术人员对存在的问题提出具体的处理意见和建议;属于业务问题,提交服务业务人员进行处理;属于操作问题,可安排相关人员对问题提出人进行解释,并将系统缺陷类问题提交单转为系统咨询类问题提交单。
(3)问题确认、解决。服务的技术人员和业务人员收到系统缺陷类问题提交单后,对提交的问题进行归类汇总和分析、确认。可以解决的,明确问题解决的具体处理建议和措施,经主管签字同意后,交实施人员进行解决方案的实施。服务人员确认是否解决,并将解决方法附在系统缺陷类问题提交单上反馈给问题提出人员。
(4)问题上报。服务人员收到经业务或技术人员确认的系统缺陷类问题提交单后,上报上级部门。
(5)问题回复。服务人员根据提交的问题进行分析,制定解决方案并进行实施解决,同时做好变更记录。将解决方案汇总后及时向问题提交单位或问题交办客户作出回复,并将分析过程和问题产生原因一并提交。
4应急服务响应措施
某XX科技有限责任公司已经针对本项目制定了详尽的设计、应急处理预案,整个流程严谨而有序。但是,在服务维护过程中,意外情况将难以完全避免。下面,我们将对项目实施的突发风险进行详细分析,并且针对各类突发事件,设计了相应的预防与解决措施,同时提供了完整的应急处理流程。
4.1应急基本流程

维护服务应急处理流程
4.2预防措施
针对上门服务过程中可能遇到的各种各样的风险,某XX科技有限责任公司总结自身维护服务经验,针对一些可能出现的情况,制定了一系列预防处理措施,举例如下:
类型 | 事件 | 预防措施 | 处理 |
应用软件 | 无法启动软件可执行文件 | 上门人员提前准备好各类需维护软件安装程序 | 将应用软件数据文件备份后,重新安装 |
软件打开过程中或运行中异常错误关闭 | 上门人员准备好安装程序,操作系统优化和修补软件,查杀病毒软件 | 判断出错原因,备份数据,采取相关修复措施 | |
网络或服务器 | B/S结构系统网络流量异常或服务器登录异常 | 判断服务器是否异常,否则准备杀毒软件 | 检查网络流量,流量异常小则报修网络服务商,流量异常大则查杀病毒 |
4.3突发事件应急策略
系统巡检人员要定期规范检查各硬件设备的运转情况和应用软件运行情况,同时做好日常的数据增量备份和定期全备份。对发现的问题在报各级负责人的同时,要协调相关资源分析问题根源,确定解决方案和临时解决措施,避免造成更大的影响。问题得到稳定或彻底解决后,要形成问题汇报,避免以后类似重大紧急情况的发生。
对发现的问题在报负责人的同时,要协调相关资源分析问题根源,确定解决方案和临时解决措施,避免造成更大的影响。问题得到稳定或彻底解决后,要形成问题汇报,避免以后类似重大紧急情况的发生。
紧急情况 | 预防措施 | 应急策略 |
硬件损坏 | 项目单位设备硬件损坏 | 在数据未丢失情况下,保证数据安全性,建议项目单位替换相关硬件。 |
操作失误 | 加强培训力度,掌握培训效果,检验操作人员操作水准,提示注意事项。 | 操作失误未造成即成结果或数据未丢失情况下,保障数据安全,反之,协调相关部门,进行补救。对操作人员强调注意事项 |
配置丢失 | 培训时强调使用前配置方法和步骤,并特别提示需在使用前按要求操作 | 派出上门维护、培训人员重新配置,并耐心讲解。 |
数据丢失 | 培训时强调使用过程中注意定期备份重要数据,日常维护过程中,上门服务人员实时备份数据并告知用户 | 协调有关部门,进行补救,无法补救,提交报告说明原因。 |
突发事件应急策略服务流程图如下:

5报价方案
序号 | 系统名称 | 单位 | 数量 | 单价 | 小计 | 备注 |
1 | 紫东一期网络系统 | 项 | 1 | 8000 | 8000 | |
2 | 服务器及存储设备 | 项 | 1 | 3000 | 3000 | |
3 | 园区监控系统 | 项 | 1 | 6000 | 6000 | |
4 | 门禁系统 | 项 | 1 | 5500 | 5500 | |
5 | 停车场管理系统 | 项 | 1 | 2000 | 2000 | |
6 | 信息发布系统 | 项 | 1 | 2000 | 2000 | |
7 | UPS电源设备 | 项 | 1 | 1800 | 1800 | |
8 | 综合布线系统链路检查 | 项 | 1 | 6000 | 6000 | |
9 | 机房设备及监控系统 | 项 | 1 | 5500 | 5500 | |
合计(元) | 39800 | |||||
行业新闻